你的位置:betway > 篮球 > betway 朱婷餐饮碧咸虾酱 日媒愤怒大谷翔平被注商标

betway 朱婷餐饮碧咸虾酱 日媒愤怒大谷翔平被注商标

发布日期:2026-03-20 17:56 点击次数:140

  北京时间2月28日上午8时,获得10年7亿美元历史最大体育合同的日本棒球明星大谷翔平betway,在首次代表道奇队出场季前赛的比赛中,就轰出了左外2分本垒打。

  这一新闻,瞬时登上了日本雅虎的头条。

  值得注意地是,3小时前,另外一篇新闻也是关于大谷翔平的,标题叫做《大谷翔平成中国商标 注册者表示是偶然 也可以让给你》。

  在本文撰写时刻,日本雅虎FULL-COUNT的《道奇队教练猛赞:大谷翔平是特殊选手 冲击弹让全员兴奋》的本垒打战报,只有47条留言。

  而中国人竟然把日本最著名运动员在国内注册成了商标的新闻,有多达4242条留言,堪称群情激奋。

  这篇来自富士电视台系FNN在线的文章是这么说的——

  中国企业在用“大谷翔平”申请商标,询问了那家企业,得到了令人吃惊的回答。

  这家申请“大谷翔平”商标的中国企业说:“他是棒球选手么?不太知道,也许是偶然,偶然(重名)一样。”

  从中国的商标申请网站上可以看到,大谷翔平这个汉字的商标申请,至少有两件(笔者实际只查到了一件),都是在2023年12月提出的。

  其中1件来自福建省的企业,申请类别是T恤衫和儿童服装、帽子以及袜子等。

  这家企业说,不知道大谷翔平是棒球选手,原本自己的品牌名字叫大谷。结果发现大谷这个品牌已经有了,所以就想加两个字,忘了是从什么地方看到的翔平这个字,所以就加上了。

  该企业还表示,如果你们需要这个商标的话,可以联系我,我也不是一定要用这个商标,我的品牌其实换成什么名字都行。(这个描述,似乎是在暗示中国企业抢注偷注后,k彩娱乐官网希望无耻地卖给本家,用春秋笔法勾勒出了一副奸商嘴脸)

  原文继续说——

  无印良品在进入中国的时候,曾经被先注册了无印良品的中国企业控告,结果败诉。

  (这里是利用信息差和较少的内容来暗示,中国无印良品抢注商标,然后驱逐日本的无印良品,实际上中国的无印良品在2001年就注册了,而且只有毛巾和被子等类别,一直生产产品。日本无印良品是在2005年进入中国的,双方打官司直到2021年才宣判)

  那么大谷翔平的名字被注册了会如何呢?

  综合法律事务所薮田崇之律师表示:“除了申请注册了写有‘大谷翔平’4个汉字的T恤等的企业以外,如果其他公司在中国制作并销售的话,就会被控告。考虑到中国的市场,我认为会有相当大的经济影响。”

  翻看日本雅虎的留言板,群情激奋是在所难免的。试想,如果有自媒体报道孙颖莎或者全红婵在日本被注册成了商标,必威体育微博也会是同意愤怒吧。

  “(我)对这个国家真是无能为力(无语)了。(我不想再对这个国家说啥了)。”这一留言被点了7万同感(类似中国的点赞)。

  “中国有教授道德的课程吗?即使有,内容也与世界标准相去甚远吧。”这个留言得到了9332个共感。

  回想当初日本前大使垂秀夫上任时所说的,希望中国想一想为啥日本民众对中国负面情绪变得如此糟糕?显然,日本媒体这种报道的功绩,不可磨灭。

  在这篇文章下,日本的一名还算对中国友好的记者,做了一些客观的解释。

  经济记者、法政大学MBA实务家讲师浦上早苗直接批评了FNN的新闻是标题党,她写道:“首先,标题很容易混淆,该商家只是申请,并不是注册了。申请是谁都可以提的。这与无印良品被登记的时候时代和状况都不同,关于这种能马上知道是谁的人名,几乎都会被驳回。日本的人气商品和名人在中国被申请了相当多的商标。东京奥运会的时候,也有报道说中国乒乓球选手被大量申请。桥本大辉、伊藤美诚等日本选手也申请了数十件,均已被拒绝。如果是在中国很受欢迎的运动的话,日本选手稍微活跃一下就会出现这种踢墙抢注的申请者,大谷翔平选手的申请少,主要是因为在中国棒球关注度少的缘故。”

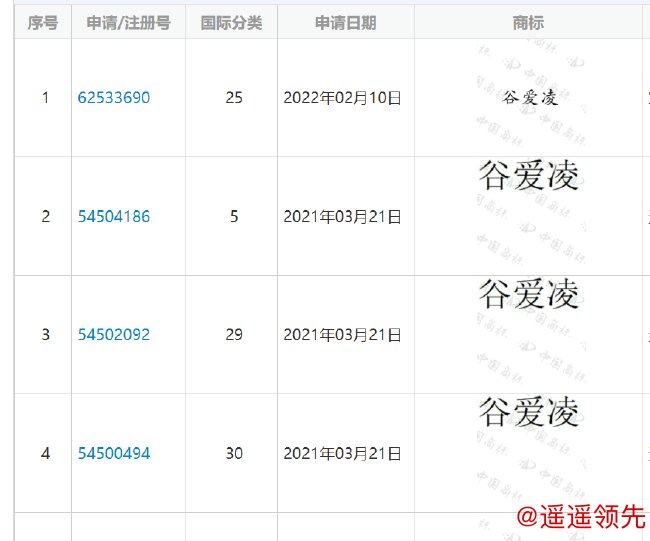
  正如浦上早苗所说,国内的著名体育明星也都是受害者、苏炳添、谷爱凌、甚至冰墩墩都被提出过商标注册申请,但是也被很快却下。

  以谷爱凌为例,在中国《国家知识产权局商标局 中国商标网》可以查到29次商标申请。

  最早的是2019年6月10日,最晚一次是2022年2月10日,分别由来自江西宜春、天津、安徽芜湖、河北承德、江苏省东海县以及3个自然人申请。

  皆无一例外地被驳回。

  有趣地是,孙颖莎三个字在2017年被申请了国际商标32类——啤酒;无酒精饮料;矿泉水和汽水;水果饮料及果汁;糖浆及其他用于制作无酒精饮料的制剂的注册。在2018年得到审核通过,商标期限是10年。

  也正是在2017年,孙颖莎于世青赛拿到了女单、女双和女团的三冠。但是她真正为大众所认识,可能还是2019年在世锦赛拿到女团和女双冠军吧。

  至于全红婵,2021年8月5日,也就是她在东京拿到女子10米跳台冠军的当天,深圳一家电气科技公司申请了这三个字的商标,不过现在已经查都查不到了。

  朱婷有13个类似姓名商标申请,除了2014年的一个来自四川的餐饮住宿商标(似乎是重名)被通过外,其余的都被驳回。

  大谷翔平这样有中文名的外国选手还比较容易类比后却下,而英文翻译名,由于其缺乏官方翻译的唯一性,有时候会引起争议。比如为外界所知的关于“乔丹”这个品牌商标的官司。

  在目前可查询的网站上,包含乔丹两个字的各类商标申请超过350次。

  那么在中国如果用其他的类似名,能够申请到商标么?比如在广东,贝克汉姆被翻译为碧咸。这个脑筋急转弯能产生什么效果?

  翻看商标网,可以看到有15个“碧咸”的商标申请。

  其中一个来自广东的2007年碧咸(bixian),服装; 皮衣; 裤子; 外套; 婴儿全套衣被申请成功,但是2019年失效。

  而江门市某企业在2017年为虾酱; 蔬菜罐头; 果酱; 果皮; 姜酱;申请了这个商标成功。湖南长沙的一家企业则在2019年为洗面奶;、浴盐、除臭剂也申请成功了碧咸这个商标,也成功注册发文。

  (周超)betway

声明:独家稿件,未经授权禁止转载!

友情链接:

必威体育首页 世界杯 中超 欧冠 五大联赛 足球 篮球 CBA NBA 直播

Powered by betway RSS地图 HTML地图

沪ICP备2857391046号